Довольно долгая стройка, хотя, если посмотреть назад, в ней не было ничего особо сложного. Просто так получилось, что сборка этого грузовичка-самосвала заняла у меня почти год. В мире моделизма такое бывает.
Главное, что я все таки его закончил.
В этот раз в мои руки попал один из грузовичков на базе ЗиЛ-130 производства AVD, а именно — самосвал ММЗ-4502. У AVD есть еще куча модификаций этого ЗиЛка — и бортовая версия, и еще один самосвал, и даже тягач с полуприцепом. Но собирать я решил именно эту версию, потому что она у меня была на руках, и мне очень хотелось собрать что то гражданское и не зеленое.
Начнем, по традиции, с того, что лежит в коробке. Кроме кучи литников, там также находится толстенная инструкция и небольшая сувенирная открыточка. Кроме этого у меня были 3D-печатные колеса, 3D-печатные зеркала и набор 3D-декалей от Emboss.
Собирается все довольно неплохо. Толкатели есть, но достаточно хорошо спрятаны там, где их не будет видно. Некоторая заморока получилась с колесами — пришлось довольно грубо подрезать посадочные места на ступицах, так как отпечатанные детали были отпечатаны вместе с этими самыми ступицами. Это не самое сложное занятие, да и колеса потом садятся на место без проблем, но это показатель, насколько дополнение адаптировано к конкретной модели (читай — неидеально).
Также, у колес, как и любой 3D-печатной продукции есть саппорты, удаление которых как всегда досталяет море не очень положительных эмоций.
До состояния "на раме" модель собралась быстро и без проблем. Я даже и оглянуться не успел. Да, в паре мест пришлось все же повозиться с толкателями, в паре мест попался облой, однако в остальном сборка простая и приятная.
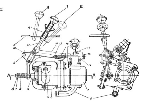
Правда, без напильника не обошлось. Например, AVD совершенно забыли про гидронасос, который приводит в движение всю гидросистему самосвала. Пришлось лезть в интернет, искать картинки, всякие схемы обслуживания и прочую документацию, чтобы из обрезков литника и катетеров сделать имитацию. Не, я, конечно, понимаю, что под днищем машины ее видно не будет, но я то буду знать, что в этом месте — несовершенство.
По ощущениям, кабина сходится немного хуже, чем рама. Чуть больше щелей, чуть больше облоя. Внутри, на приборной панели, я срезал весь рельеф, чтобы на его место приклеить 3D-декали от Emboss.
И после грунта, задул кабину изнутри в цвет "Голубая Адриатика" от Jim Scale — они выпускают тематический набор, посвященной данной модели, так что, я бы даже рекомендовал его приобрести (если, конечно, полка не ломится от запасов краски)
Мотор у ЗиЛ-а очень детализированный. Но всегда есть, что добавить сверх того — например, проводку к свечам зажигания. Кстати, будьте внимательны, AVD профакапили, и крышку распределителя надо брать с дополнительного литника — там она под восемь свечей зажигания, как и положено.
Кроме проводов, сделал магистрали гидросистемы от гидробака к помпе и к гидроцилиндру, ну и имитацию топливной магистрали, которая, на самом деле, ведет в никуда.
Это был первый раз, когда я пользовался 3D-декалями, но опыт оказался исключительно положительным (не считая момента, что я приклеил одну из них вверх ногами, но это удалось устранить практически без повреждений краски и самой декали). Просто слегка отмачиваешь их с бумажки и приклеиваешь на нужное место. Торец декали стоит подкрашивать, но я не стал — там, где его видно, он серый, и это алюминиевая табличка, так что она в любом случае будет серая.
Самое обидное в этих декалях то, что их нифига не видно внутри кабины. Особенно таблички на раме сиденья, которые вообще повернуты вовнутрь кабины и спрятаны между сиденьем и диваном.
Хотелось бы еще декаль на коврик, но в то время я ее не нашел (то ли не было в наличии, то ли еще не выпустили), поэтому я просто закрасил низ кабины в черный цвет.
Дальше, были установлены на место двери, и грузовичок можно было уже красить, но мне захотелось сложностей. А именно — зря я что ли украшал двигатель? Модель предполагает возможность сделать ее с открытым капотом, но мне не нравилась мысль, что она все время будет с этим "раззявленным хлебалом". Так что я начал изучать вопрос и уж было собрался делать петли самостоятельно, как вдруг наткнулся в интернете на набор фототравления, как раз под эту модель. Выпускает его компания АЕМ.
Я не могу назвать этот набор совсем уж копийным (и не могу сказать, как ведут себя другие части набора, которые я не использовал), но в принципе, свою работу он делает — позволяет собрать рабочую конструкцию петель. Хотя и переразмеренных — мне пришлось неизящно подпиливать деталь капота, чтобы петли встали плотно, и капот мог закрываться без совсем уж неприличных щелей.
От пластиковой соломки, идущей в комплекте я отказался, и собрал петли на стальную проволоку, которую фиксировал суперклеем. В теории все это выглядело сильно сложнее, чем оказалось на самом деле.
Следует помнить, что пружинок фиксации тут нет, поэтому капот в открытом положении не фиксируется. Но об этом позже, а сейчас нас ждет малярка.
Базовым цветом кабины была все та же "Голубая Адриатика" от Jim Scale. С помощью масок передняя часть кабины была окрашена в белый. Поддувы пришлось устранять отдельно, но это не вызвало проблем. В отличие от недокрасов от замаскированных патафиксом поворотников. Откровенно говоря, сейчас я бы ставил поворотники уже после окраски. Было бы куда меньше возни.
Кузов был задут в серый цвет (мне кажется, тут можно хоть в розовый красить, главное отбрехаться, что в автохозяйстве другой краски не было), рама — в черный.
Двигатель был окрашен в цвет алюминия, а немногочисленные мелочи на нем — подкрашены кистью.
Кузов и кабина были совершенно по-бронетанковому обсколены и смыты.
Ну а двигатель подвергся многослойному везерингу с помощью пигментов, жидкостей от AK Interactive и AMMO Mig. Жидкости немного разочаровали. Я ожидал более естественный результат, поэтому, оказалось более правильным решением намешать в них пигментов, чтобы обеспечить более "зернистый" и сухой вид грязевой корки, замешанной на машинном масле.
Для везеринга кузова тоже использовал пигменты, но в этот раз замешал их на уайт-спирите, чтобы получилась жидкая кашица. Ее нанес на борта, особенно сконцентрировавшись на нижних внутренних углах конструкции, а после высыхания — смел лишнее кистью. Результат мне понравился — выглядит грязно, но достаточно естетственно.
Уже покрасив и собрав подкапотное пространство, я решил добавить туда еще больше деталей — а именно, жгут проводки, идуший по передней стенке кабины. Жгут был сделан из тонких проволочек, которые были собраны воедино втулками, сделанными из тянутой ватной палочки — эти палочки, если их растянуть, как литник, все равно сохраняют внутри пустоту, что позволяет использовать получившиеся трубочки в различных целях.
И в принципе, на этом осталось только окончательно завезерить то, что еще не было завезеренно (использовал пигменты, а также масло, для имитации ржавых потеков на кузове и кабине) и приклеить зеркала. Зеркала у меня тоже были 3D-печатныме, и я вынужден констатировать, что вот эта печать — не удалась. Ну или мне брак попался, со смещением печати. В любом случае, зеркала у меня получились, откровенно говоря, кривые, что бросается в глаза на итоговых фотографиях. Увы, поставить штатные тоже не было вариантом, так как эти детальки я нечаянно сломал еще на литнике. Поэтому, к сожалению, пришлось обойтись тем, что есть. Я пытался исправить ситуацию настолько, насколько это было в моих силах. Получилось или нет — решать зрителю.
Я прошу прощения за кусок проволки, подпирающий капот, но, как я уже писал выше, капот не фиксируется в открытом положении. Поэтому пришлось изобретать некрасивое, но работающее решение. Впрочем, как сказали на реддите, от такой машины чего-то подобного и ожидаешь — в любом случае ты будешь подпирать капот подручным хламом, так как пружины давно растянулись и не держат.
Надо сказать, что чем ближе было завершение стройки, тем более упадочным было мое настроение. Мне казалось, что ничего толкового не выйдет, и модель будет уровня "очень так себе". К счастью, по итогу все оказалось сильно лучше, и на итоговые фотографии я смотрю с удовольствием (стараясь не замечать зеркал, конечно же)
Модель от AVD — хороша. Даже если собирать ее без каких-либо допов, она все равно будет очень приятна в сборке. Крайне рекомендую всем, кто хочет собрать ЗиЛ-130 и поставить его к себе на полку.




































































